リーニンが取得しようとしている特許技術の内容
リーニンが特許を取得しようとしている、「アジア人でもケニアランナーのように走れるシューズ」を実現するための技術は、中国において特許出願されている特許公開番号「CN 119214403 A」の技術によく表れています。この技術は、シューズの前足部に圧縮変形可能な空間を設けることにより、着地時に前足部が圧縮変形することで、自然とフォアフット着地をしやすいようにできることを目的としています。
この「シューズ前足部の圧縮変形可能な空間」は、図1の“140”の数字が振られている個所がそれに当たります。 なお、この「シューズ前足部の圧縮変形可能な空間」は、フォアフット走法を促すのみならず、着地時に生じるエネルギーを溜め込んで蹴り出し時に放出される仕組みにもなっているようです。
さらに、リーニンが中国において特許出願している特許公開番号「CN 119344534 A」の技術にも、「アジア人でもケニアランナーのように走れるシューズ」を実現するための技術が表れています。
この技術は、前足部に特殊なけん引部材を設置することにより、着地した際に生じるけん引部材の逆方向への引張力を利用してフォアフット着地を促しつつ、アキレス腱への負荷などを抑えることを目的としています。
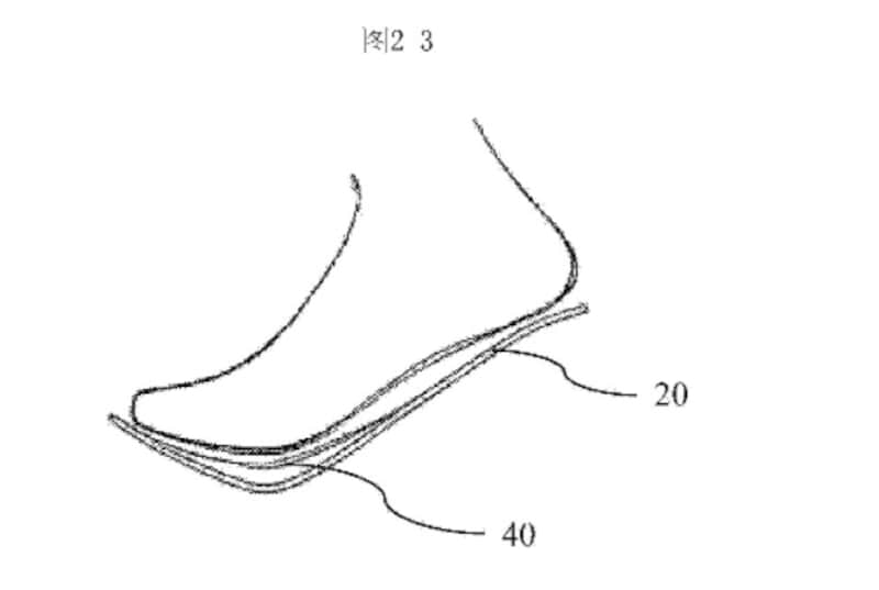
この「前足部に設置する特殊なけん引部材」は、図2の“40”の番号が振られている個所です。 この技術は、厚底シューズに用いられるカーボンプレートによるアキレス腱への負荷といった点も考慮したものであり、厚底シューズ用の技術といえます。厚底シューズはメリットのみならず、特定の部位に負荷がかかるというデメリットもあるのですが、そういったデメリットを抑えるための技術でもあります。
こうしたリーニンの特許出願の内容を見ると、大迫選手が履いた「FEIDIAN 6 ELITE」は、先述のようなリーニンの最新の技術が用いられ、フォアフット走法がしやすく、元々「FEIDIAN」シリーズが有していた“反発力の強さ”という特徴を活かしやすいシューズになっているのではと推測できます。
大迫選手が履いた「FEIDIAN 6 ELITE」は日本では2026年発売予定のようですが、年明けすぐのニューイヤー駅伝や箱根駅伝でもこれを履く選手が出てくるかもしれません。
今までマラソン・長距離シューズは、NIKE、adidas、asicsの三つどもえといった感じでしたが、ここに中国メーカーのリーニンが加わってくる可能性があり、今後の展開が非常に楽しみです。
>次ページ:大迫選手が履いていた「FEIDIAN 6 ELITE」









